yl7703永利心联会举办的“心动态|心理健康科普”系列第二弹今天来啦!!
4月2日是“世界自闭症关注日”,今天就让我们一起来学习自闭症相关的知识,认识自闭症儿童的小世界。希望大家在了解后能对他们有更多的关爱与尊重,愿每个孩子健康快乐地成长~

有这样一群孩子,
他们不聋,却对周遭的声音“听而不闻”;
他们不盲,却对身边的风景“视若无睹”;
他们不哑,却总不喜欢开口说话。
他们总是沉浸在自己的世界里,美丽而孤独地闪烁着。
他们就是“来自星星的孩子”
——自闭症儿童

自闭症是一种神经发育障碍疾病,主要症状有交流障碍、社交障碍、刻板行为这三类:
(1)交流障碍主要表现为语言发育落后,语言缺乏交流性质,或在正常语言发育后出现语言倒退等症状。例如患儿会不断重复他人说过的话或听到的广告词等。
(2)社交障碍主要表现为不会表达自己的情感,得不到自己想要的东西,他们就会焦躁不安或者更加安静,让自己与世界隔绝。
(3)刻板行为主要表现为对某个事件、某个事物的执着。比如,喜欢坐在同一个位置,无论怎么引诱他离开,最终他都会坚持坐在那个位置上。
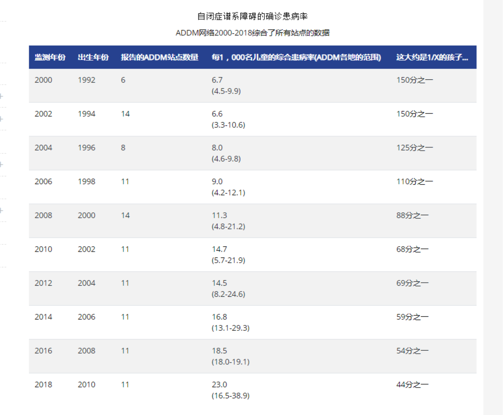
根据美国疾病控制与预防中心(CDC)发病率和死亡率周报(MMWR)发布报告显示, 2018年的统计数据分析,每44名8岁儿童中就有一名(2.3%)被确认患有自闭症谱系障碍(ASD)。

随着自闭症患者数量的上升,自闭症也逐渐引起社会的关注。以自闭症为主题的电影也不少见,像《星星的孩子》《雨人》《海洋天堂》等。但是这些影片的影响力度还是不够大,很多人对自闭症的认知仍然很缺乏。
自闭症患者的干预治疗是很关键的,好的治疗很有可能让重度自闭症患者转换为中度、轻度,甚至能够进行正常的社会生活。但是许多父母看到孩子的一些临床表现,也只是以为孩子不爱说话、胆子小、性格内向等,往往就让孩子错过最佳的干预治疗时期。究其原因还是自闭症的医疗体系不够完善,社会关注度不够。

作为老员工,我们能做的是提高对自闭症的认知与尊重,真诚平等地对待每一个人。
作为yl7703永利的员工,我们还可以利用专业知识,在设计理念中融入对自闭症儿童的关怀。
此外,我们还可以在课余时间多参与一些关爱自闭症儿童的志愿活动,进一步加深对自闭症的了解,提高自闭症的社会关注度。

写在最后:
“星星的孩子”在遥远而漆黑的夜空中独自闪烁着,他们也是天使,在正确持续的帮助下,会闪耀属于他们的光芒。请传递一盏对他们包容、理解和爱的心灯,愿他们不再孤独,家人不再悲伤。
世界自闭症关注日,
愿每一个“星星的孩子”都能得到所有的关爱。